主营:高低温冲击箱、冷热冲击试验箱、两箱冷热冲击箱等设备
400-822-8565
158-9969-7899
正航仪器讲解工业通风机射流风机试验步骤
为保证推力的测量达到所要求的精度.应尽量采取措施减少由于试验装置装配或调整引起的误差。尽管规定了校准平衡块或弹簧平衡块,但如果使用弹簧平衡件记录推力,而且它是通过1个滑轮支撑,必须准确的知道其重量并加到被测的推力上。如果使用力传感器测量推力,一定要校准。例如使用滑轮和配重系统,应不超过12 个月的间隔期。
当偏差大于读数的1% 时,应每3 个月进行重新校准。
如果使用支撑式,应采取措施,以保证在两个方向内移动风机所需要的力相同,这样,配件也相应地保持水平。
当推力和功率输入读数稳定时,或启动最少10 min 后再记录推力读数。
一、试验闭式场地
图7 示出了试验闭式场地所要求的空间。

二、 声级的测定
1 、概述
通过半混响的方法测定噪声级。该方法实质上是较为实用的,而且不需要使用噪声测量仪器,只需要少量的设施z 适当的封闭室和1 个经过校正的声源。
当阻力为零时,风机仅有1 个工况点.没有由"叠加方式"而产生错综复杂的噪声。同样,如果仅要求进口或出口噪声级,末端消声器就没有必要了。用这种方法测量的是风机产生的噪声(无论是从风机的进出口或从风机机壳),此时和风机安装在隧道中的情况是一样的。
2 、试验装置
风机、经校准的基准参考声源及麦克风线路的布置见图8


3 、封闭场地适用性
半混响室应符合I5013347 的要求。
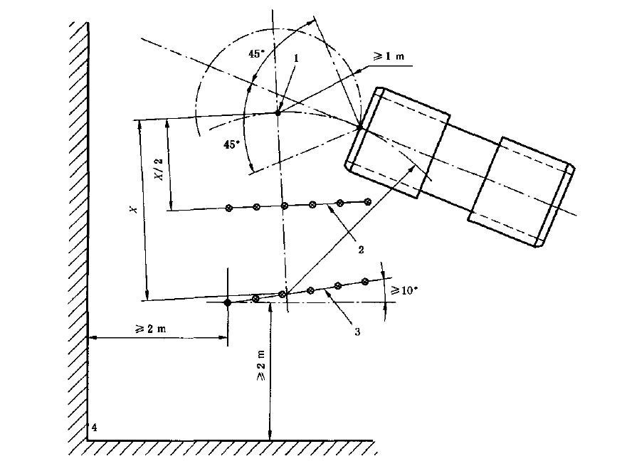
在距离主要反射表面不小于2m 处,将主麦克风线路布置于长度为1. 5m~3m 的弧线或直线上。该线路上的点既不应位于风机声源中线的45。之内,也不应位于与任何平行面构成在10。之内,并且应位于室内的一个角处.这样定位,麦克风将不承受超过2 m/s 的空气流速。(见图8) 。
这样确定使基准噪声源中心和风机声源点与主麦克风线路中点的距离相同。基准噪声源中心与风机声源点的距离要大于1 m ,本基准噪声源应符合I50 13347 的要求。基准噪声源应以小于等于2%的校准速度运行。
在基准噪声源工作的情况下,当试验风机叶轮处于静止状态时,噪声压力级的读数可以在沿着主麦克风线路的每个倍频中和沿着已估算线路的平均值中取得。次麦克风线路应建在基准噪声源和主麦克风线路中点之间的一半位置处,其线路长度与主麦克风线路长度相同。基准噪声源中心与主麦克风线路与次麦克风线路应相垂直。在每个倍频中,沿次线路的平均声压级不应超出主线路平均值3dB ,这是根据附录B 中背景噪声的要求而修正的。


申小姐
东莞市正航仪器设备有限公司 Copyright © 版权所有contact us
地址:广东省东莞市寮步镇岭安街2号手机微信号
微信公众号
手机网站


